Litinový hranatý poklop s rámem. Využití nalezne pro zakrytí šachet a vstupních otvorů v pojezdových plochách. Poklop je určen pro přejezd osobních i nákladních aut. Pro krytí vstupních otvorů do technologických částí s požadavkem na větší rozměry.
Zobrazit celý popis
Instalace |
|
| Kotvení | betonáž |
|---|---|
| Zadláždění | ne |
| Síla dlažby | – |
Víko |
|
| Materiál víka | litina |
| Barva | černá |
| Tvar | hranatý |
| Antikorozní ochrana | – |
| Povrchová úprava | vroubky |
| Odvětrání | ne |
| Otevírání | panty |
Rám |
|
| Materiál rámu | litina |
| Barva | černá |
| Tvar | hranatý |
| Světlost | hranatá |
| Límec | ne |
| Antikorozní ochrana | – |
Zatížení |
|
| Třída zatížení | D400 |
| Nosnost | 40 t |
| Norma | – |
| Určení | šachty |
| Použití | exteriér |
Provedení |
|
| Plynotěsné | ne |
| Pachotěsné | ne |
| Vodotěsné | ne |
| Protihlukové | ne |
| Protipožární | ne |
Výbava |
|
| Otvírač | ne |
| Typ otvírače | – |
| Zámek | ano |
| Klíč | ano |
Parametry |
|
| Původ | Vyrobeno v DE |
| Záruka | 2 roky |
| Značka | MEA |
| Parametry produktu: | |
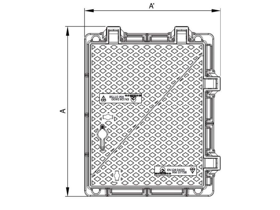
Poklop SDM 42 je hranatý poklop s třídou zatížení D400, která splňuje normy pro zakrytí šachet a vstupních otvorů s požadavkem na větší rozměry v pojezdových plochách. Poklop je určen pro přejezd osobních i nákladních aut. Součástí pokopu je i rám, který je uzpůsoben pro zabetonování.
Hranaté víko z šedé litiny, která zaručuje vysoké mechanické vlastnosti a její vysoká hmotnost minimalituje riziko vyskočení víka z rámu. Otevírání pomocí háku. Litina navíc zaručuje životnost několik desítek let.
| VybránoSDM 42 | Vybráno |
|---|---|
| Rozměr (vnitřní) | 600 x 900 mm |
| Rozměr (vnější) | 764 x 1102 mm |
| Výška | 10 mm |
| Hmotnost | 134 kg |



Hledáte příslušenství k produktům ve vašem košíku?
Je vám k dispozici v této nabídce.
Foto - Poklop MEA SDM 42
Foto - Poklop MEA SDM 42
Foto - Poklop MEA SDM 42
Diskuze
Položit otázkuSkrýt