Vodotěsný plovoucí poklop kruhového tvaru. Slouží k ochraně a zajištění dostupnosti armatur. Vhodný pro zabudování do volného terénu.
Zobrazit celý popisParametry | |
| Typ | plovoucí |
| Tvar | kruh |
| Materiál víka | litina |
| Materiál rámu | litina |
| Materiál těla | litina |
| Povrchová úprava | bitumen |
| Barva víka | modrá |
| Nápis na víku | VODA |
| Vodotěsné | ano |
Rozměry | |
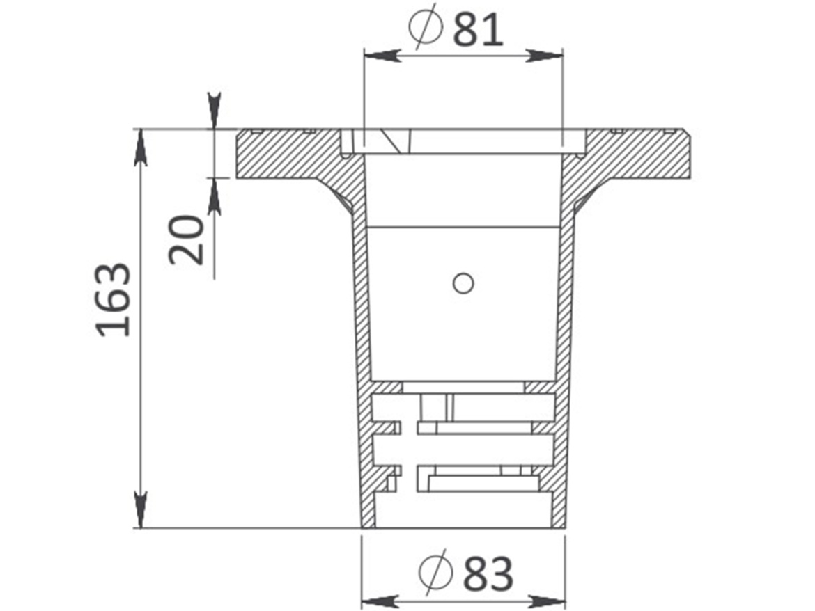
| Průměr hrdla | 81 mm |
| Rozměr horní části | ⌀ 210 mm |
| Výška poklopu | 163 mm |
| Hmotnost | 4,8 kg |
Zatížení | |
| Třída zatížení | D400 |
| Nosnost | 40 t |
| Norma | ČSN EN 124 |
Parametry | |
| Původ | Vyrobeno v ČR |
| Záruka | 2 roky |
| Značka | Heckl |
Poklop se využívá k ochraně částí a dílů armatur a jejich ovládání před mechanickým poškozením nebo znečištěním resp. zasypáním. Je v hodný při realizaci nových staveb i při rekonstrukcích. Se zemní soupravou je spojen pomocí bajonetového zámku. Výhodami jsou vodotěsnost a vysoká pevnost tvárné litiny. Tělo poklopu je ošetřeno bitumenovou vrstvou. Povrch poklopu je protiskluzový.
Poklop je vyroben z tvárné litiny GGG (EN - GJS). V horní části poklopu se nachází pryžové těsnění s trojitou manžetou (EPDM). Poklop je certifikován pro třídu zatížení D400. Je možné zakoupit variantu s bezpečnostním řetízkem, který spojuje víko s tělesem poklopu a snižuje tak možnost zcizení víka. Poklopy lze instalovat bez podkladové desky.



Hledáte příslušenství k produktům ve vašem košíku?
Je vám k dispozici v této nabídce.
Ne, nejprve si vytvořte objednávku přes e-shop, jen tak zajistíme dostupnost materiálu při osobním vyzvednutí.
Samozřejmě a rádi :)
Neztrácejme spojení – můžeme si zavolat a probrat dopravu, platbu nebo třeba konkurenční nabídku. Určitě to spolu vymyslíme.
Založte si Buildex účet, my Vám dáme 100 Kč na první objednávku a aktivujeme další výhody.
My, společnost Buildex Group s.r.o., IČO 5362431 používáme soubory cookies k zajištění funkčnosti webu a s Vaším souhlasem i mj. k personalizaci obsahu našich webových stránek. Kliknutím na tlačítko „Rozumím“ souhlasíte s využívaním cookies a předáním údajů o chování na webu pro zobrazení cílené reklamy na sociálních sítích a reklamních sítích na dalších webech.
Číst dále Méně
Maximálně pohodlné prohlížení na míru. To díky sušenkám dokážeme zařídit. Košík si bude pamatovat váš nákup, bez odhlášení vám nehrozí otravné zadávání údajů a zobrazovat se vám bude jen relevantní obsah. O co se s námi podělíte je zcela ve Vaší režii, vše bude ale v maximálním bezpečí.
Nezbytná data pro správné fungování stránky, která musí být vždy povolena.
Pomáhají nám pochopit, co by vás mohlo zajímat, na čem naše stránky prohlížíte, co nám na webu nefunguje a podobně.
Umožňují zobrazovat vám vhodný obsah na základě produktů, článků a stránek, které jste u nás navštívili.
Díky nim uvidíte na reklamních místech u nás a na jiných sítích to, co by vás mohlo zajímat a nikoliv nemístné, náhodné kampaně.
Foto - Kulatý plovoucí poklop Heckl Ren
Foto - Kulatý plovoucí poklop Heckl Ren
Foto - Kulatý plovoucí poklop Heckl Ren
Diskuze
Položit otázkuSkrýt